Какой будет обновлённая Lada Vesta: новые размеры и крутые опции
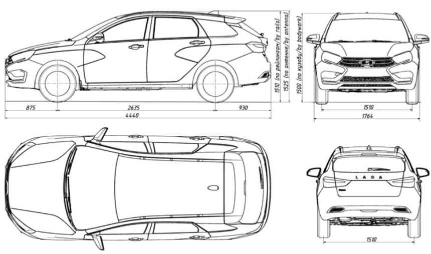
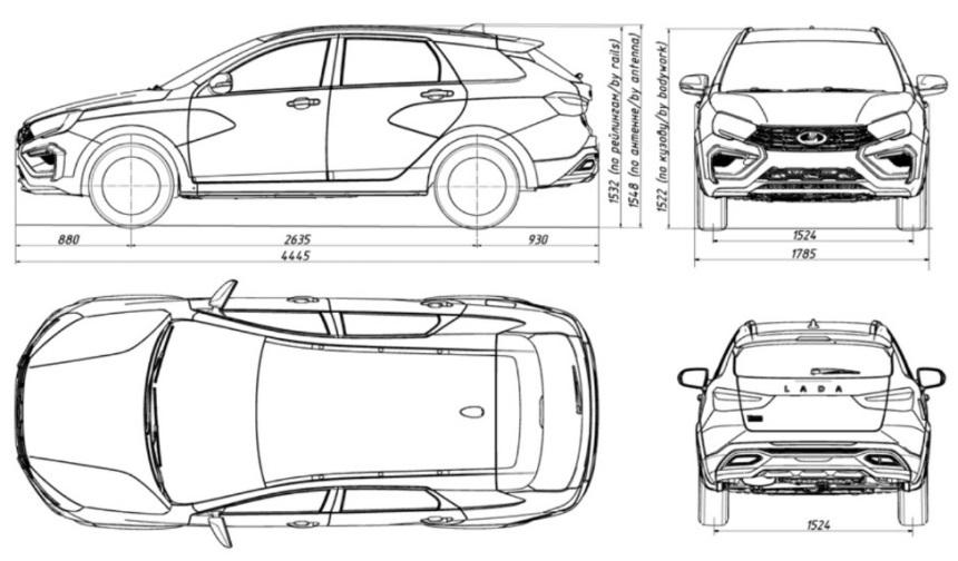
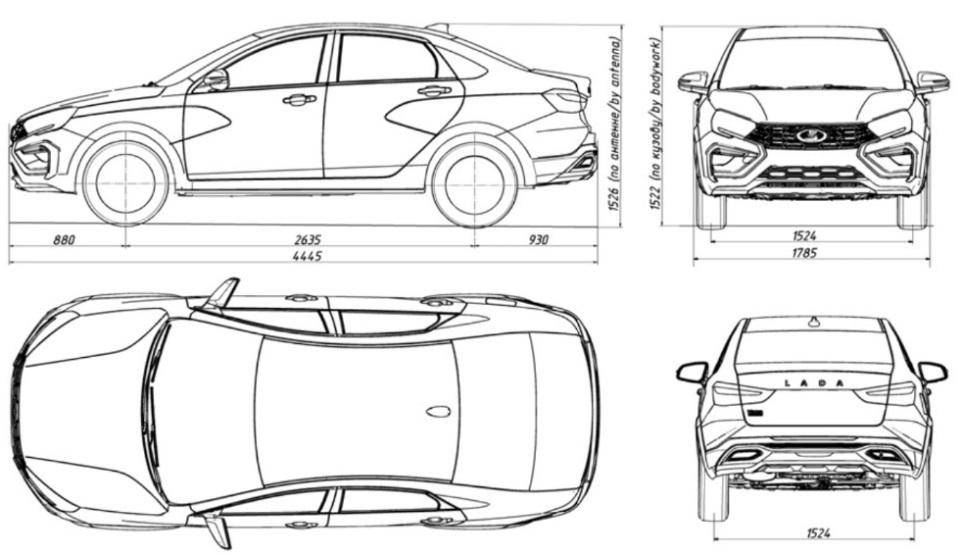
На семейство Lada Vesta FL уже выдано ОТТСВ базе патентного ведомства появилось Одобрение Типа Транспортного Средства (ОТТС) на автомобили обновлённого семейства Lada Vesta FL. В документе, в частности, приводятся размеры автомобилей. Обнародованные данные свидетельствуют о том, что габариты обновлённой «Весты» немного увеличатся – машины станут длиннее и выше.
Говорить о серьёзных переменах по сравнению с актуальным поколением «Весты», конечно же, не стоит. Габариты изменятся за счёт иного обвеса. Модель получит новые фары и задние фонари. В салоне появятся обновлённое торпедо, изменённые карты дверей, новая приборка. Вероятно, будут предлагаться покупателям и новые варианты обивки салона.
На что действительно стоит обратить внимание, так это на крутые опции, которых у «Вест» раньше не было. В дорогих версиях Lada Vesta FL будет оснащаться цифровой приборной панелью. Появятся система контроля «слепых» зон с датчиками в зеркалах, бесключевой доступ и передний парктроник. Покупателям станет доступна новая мультимедиа с вертикальным 10-дюймовым сенсорным экраном. В продажу фейслифтинговые «Весты» должны поступить ближе к середине 2022 года. В техническом плане изменений не предвидится.
Lada Vesta седан FL
