Porsche придумал потайной отсек для ценных вещей
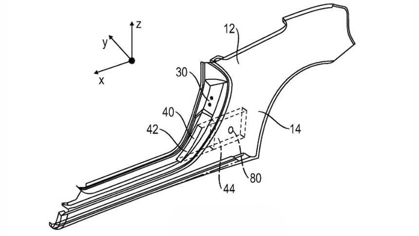
Небольшой «бардачок» скрыт в дверном проёме.Немецкий автопроизводитель Porsche запатентовал отсек для хранения вещей нового типа. Он расположен на задней части дверного проёма и незаметен для злоумышленников. Предполагается, что владельцы машин смогут хранить там ценные вещи или документы.
Carbuzz
Длина «бардачка» составляет, в зависимости от версии, от 10 до 30 сантиметров. Это значит, что в секретном кармане можно будет хранить бумаги формата А4. Помимо этого, в него можно установить специальный держатель для часов и запонок, что позволит владельцу менять аксессуары в течение дня.
Он полностью защищён от попадания влаги и пыли и абсолютно незаметен со стороны.
Материалы по теме
По предварительным данным, использовать скрытый отсек производитель планирует на спортивных моделях.
Сроки появления секретного «бардачка» на автомобилях Porsche пока не раскрываются.
Автомобильные новости
Мотокаталог на Quto

Более 5000 моделей в каталоге