Руль BMW перестанет быть круглым и превратится в джойстик
Компания называет это ручкой с угловыми элементами захватаВ отличие от компании Tesla, которая «срезала» руль сверху и сделала его плоским снизу, в BMW подошли к трансформации дизайна с более немецким взглядом.
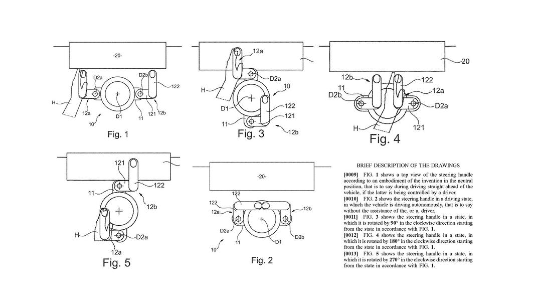
BMW уже подали патент в Бюро по патентам и товарным знакам США (USPTO) на новое рулевое колесо. В документах описывается рулевая рукоятка с расположенными под углом элементами захвата. Рычаги позволяют держать руки на «11 часов», если бы они лежали на круглом руле. Интересно, что ручки всегда направлены вверх, даже если центральная часть руля вращается. Подразумевается, что во время автономной езды без участия водителя, ручки складываются внутрь, чтобы занимать как можно меньше места.
я выбрал вместо рекламы.
Запустит ли BMW эту конструкцию в производство, пока неизвестно. Однако производитель подал заявку на патент не только в Германии, но и в Китае.
