Hyundai превратит дороги в зарядку для электромобилей
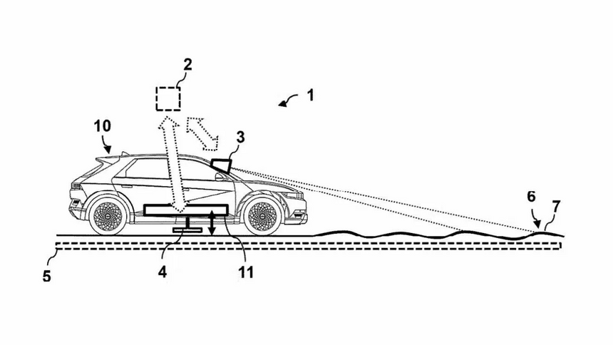
Производитель уже придумал, как бороться с неровностями, которые могут помешать заряжать машину на ходуЛюбые неровности или выбоины на асфальте прерывают поток электричества от дороги к автомобилю. Решение Hyundai заключается в использовании зарядного приёмника под автомобилем. Он крепится на регулируемом по высоте индуктивном соединителе. В итоге приёмник может автоматически подниматься и опускаться, чтобы всегда находиться на нужном расстоянии от дороги и не прерывать поток энергии, независимо от рельефа.
Камеры и датчики, расположенные на передних бамперах и решётке радиатора будут сканировать состояние дорожного покрытия, передавать информацию бортовому компьютеру. А тот — посылать сигнал для регулировки высоты зарядного приёмника.
По замыслу Hyundai, технология будет собирать данные в режиме реального времени, позволяя навигационной системе рекомендовать наиболее удобные и эффективные маршруты для беспроводной зарядки.
Система Hyundai не преодолевает одно из самых больших препятствий, которое может помешать беспроводным зарядным дорогам стать обычным явлением: стоимость. Строительство новых дорог с катушками для беспроводной зарядки стоит безумно дорого. В этом есть смысл только в том случае, если бы подавляющее большинство автомобилей на дорогах были бы электрическими.
